迅 智 光 学
FASTWISE OPTICS
MDP180P瓶坯测量仪,提供瓶坯全尺寸测量,包括飞边、翘曲度、字符识别、壁厚差测量。
瓶坯测量仪
FAST WISE OPTICS
Preform Measurement Device
瓶坯测量仪采用光学多镜片折射分段成像原理设计,采用多段平行光照射瓶身来获取整个瓶坯轮廓图像;
Preform measuring instrument with a multi-lens optical imaging principle refractive segmented design, multi-stage parallel light is irradiated to obtain the entire bottle preform contour image.
搭载双远心镜头与平行光源提取图像轮廓,保证轮廓无变形,确保测量精度。
Double telecentric lens mounted parallel to the light source image contour extraction, to ensure that no deformation of the contour, to ensure measurement accuracy.
测量台设计有伺服电机,测量瓶坯可进行360度旋转,可测量瓶坯翘曲度以及瓶口飞边数据,卡坯头可根据不同瓶口进行快捷更换。
Design of the measuring table servomotor, measuring preforms can be rotated 360 degrees to measure warpage preform and finish flash data, blank cards according to different head can finish fast replacement.
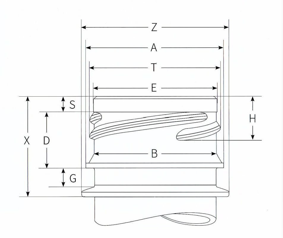
“T” Thread Dia. | "E" Neck Dia. | “S” Crest Width | "H" Height of end tooth | "A" OD Locking Ring | "D" Distance Tamper Band | “X" Height of Neck Finish | “G” Gap at Burglar Ring | "B" Guard Ring Diameter |
"T" 螺纹顶径 | “E” 瓶口直径 | "S" 全 螺 纹 起始位置 | "H" 全 螺 纹 结束位置 | "A" 锁环直径 | “D” 锁环高度 | "X" 瓶口高度 | "G" 防盗环 处间距 | "B1" 防盗环 处直径 |
±0.01mm | ±0.01mm | ±0.01mm | ±0.01mm | ±0.01mm | ±0.01mm | ±0.01mm | ±0.01mm | ±0.01mm |
“Z” OD Dia. Support Ring | Bottle Neck ID Dia. | Preform neck Circular Arc | Thread Height | Flash Detection | Concentricity | Total Height | Number Recognition |
"Z" 支撑环直径 | 螺纹顶 端宽度 | 瓶口圆弧 | 螺纹高度 | 飞边 | 翘曲度 | 总高度 | 模号识别 |
±0.01mm | ±0.01mm | ±0.01mm | ±0.01mm | ±0.025mm | ±0.10mm | ±0.05mm | — |
A-OD Locking Ring | H-Height of end tooth | ||
T-Threat Dia. | D-Distance Tamper Band | ||
E-Neck Dia. | G-Gap at Burglar Ring | ||
Neck Dia. "G" | X-Height of Neck Finish | ||
B-Guard Ring Diameter |
Z-支撑环直径 | S-起牙高度 | ||
A-锁环直径 | H-末牙高度 | ||
T-螺纹顶直径 | D-锁环高度 | ||
E-瓶口直径 | G-防盗环间距 | ||
B-防盗环直径 | X-瓶口高度 |
参数 Parameter | UDPD120G | UDPE180G |
测量物 Measuring Object | 瓶坯 Preform | |
拍摄芯片 Photographing Chip | 1000万像素 黑白Coms 10 Million Pixels Black And White Coms | |
受光镜头 Light Receiving Lens | 双远心镜头Bi-Telecentric Lens | |
显示器 Display | 12寸触摸屏 12" Touch Screen | |
照明 Lighting | 远心平行光 Telecentric Parallel Light | |
测量精度 Measuring Accuracy | 0.005mm | |
重复精度 Repeatability Accuracy | ±0.01mm(飞边±0.025mm,总高±0.05mm,翘曲度±0.10mm) ±0.01mm(Burr±0.025mm,Total Height ±0.05mm,Warpage ±0.10mm) | |
测量时间 Measuring Duration | 35 S | |
测量直径 Measuring Diameter | ≤ Φ40mm | |
测量高度 Measuring Height | 0~120mm | 0~30mm,60~180mm |
测量范围 Measuring Range | 瓶坯全尺寸测量(不含壁厚、内径及螺纹角度测量) Full-Size Measurement Of Preform (Excluding Wall Thickness,Inner Diameter And Thread Angle Measurement) | |
存储容量及输出格式 Storage Capacity And Output Format | 32G,Csv | 64G,Csv |
接口类型 Interface Type | USB 2.0/3.0、千兆网 USB 2.0/3.0、Gigabit Network | |
运行系统 Operation System | Windows | |
软件 Software | V 1.0 | |
支持语言 Languages | 中文、英文 Chinese & English | |
电源 Power Supply | Ac 110V Or 220V 50Hz/60Hz | |
使用环境温度 Working Ambient Temperature | +10 ~ 36℃ | |
使用环境湿度 Working Ambient Humidity | 20~60% Rh,无凝结 20~60% Rh,No Condensation | |
外观尺寸 Dimension | 740*310*360mm | 760*280*435 mm |
联系电话:+86-20-89627989
邮箱:jacky@fastwise.com.cn
联系地址:广州市海珠区工业大道北132号之三十栋101
网站: www.fastwise.com.cn
MESSAGE
如果您对我们有什么建议、投诉、需求,可以通过留言告诉我们,
我们会在**时间了解并及时与您联系。
迅 智 光 学
FAST WISE OPTICS